Фильтр LS

BIJUR DELIMON
GE-LS
Для заказа достаточно просто добавить товар в корзину и наши менеджеры помогут с выбором оптимальной модификации.

Фильтры для удаления посторонних частиц из смазки или масла в смазочных системах. Могут быть использованы для фильтрации не агрессивных жидкостей. Давление до 345 бар. (5000 pci).

Страна производства: Германия

Тип товара: Фильтры

Тип системы: DL Двухлинейная система

Работа
Размеры
Заказ

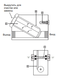
Работа

Индикатор загрязнения работает при перепаде давления на фильтрующем элементе в 20 и 35 бар.
Грязь накапливается на фильтре (E). Когда перепад давления между в портами превышает силу сцепления подпружиненного шарика (D), поршень (C) выдвигается. После очистки фильтра поршень (C) возвращается в исходное положение.
Примечания: стрелки показывают направление потока, канал (A) соединяет конец X поршня (C) с левой стороны от фильтра (E), канал (B) соединяет шток Y поршня (C) с левой стороны от фильтра (E)
Скорость потока и коэффициент открытой площади фильтрующего элемента к диаметру трубы:

Размеры

Заказ